一、实验名称:
旋光溶液旋光率和浓度的测定
二、实验目的
1、观察线偏振光通过旋光物质的旋光现象;
2、学习用旋光仪测旋光性溶液的旋光率和浓度。
三、实验原理
当线偏振光沿光轴方向通过石英晶体时,其振动面会发生旋转,这种现象称为旋光现象,是阿喇果于1811年首次发现的,后来在氯酸纳等晶体以及松节油、糖的水溶液等液体中也发现了旋光现象。能使线偏振光的振动面发生旋转的物质,称为旋光性。具有旋光性的物质称为旋光物质。在制糖、医药等化学工业中,常通过测量旋光角来得出刻物质的旋光率或浓度。
1、旋光物质的旋光率
线偏振光通过旋光物质后,线偏振光的振动面旋转的角度
称为旋光角。对于旋光性溶液,其旋光角与偏振光通过的溶液长度
和溶液中旋光性物质的浓度
成正比,即

式中
称为该物质的旋光率,它在数值上等于偏振光通过单位长度、单位浓度的溶液后引起振动面旋转的角度,这里浓度
用
表示,溶液的长度
用
表示,则物质的旋光率
的单位是
表示。
实验表明,同一旋光物质对不同波长的光有不同的旋光率,在一定温度下,旋光率与入射光的波长的平方成正比,这种现象称为旋光色散,考虑这一点,通常下采用钠黄光的
线
来测定旋光率。
2、旋光角的测量方法
测量偏振光振动面的旋转角(即旋光角),可采用如图所示的装置。测量时,先不放入试管,将检偏器转至最暗的位置,这时偏振光振动方向与检偏器偏振方向正交,然后放入装有旋光溶液的试管,由于偏振光振动方向发生旋转,视场将会由暗变亮,这时检偏器转过的角度即为旋光角
,但是,由于人眼很难准确地判断视场是否最暗,而对视场中的相邻部分的亮度是否相等却有较高的识别能力,所以,在旋光仪中都采用半荫法,即用比较视场中相邻部分的亮度是否一致的方法来确定检偏器的位置,以提高测量精度。
当通过检偏器观察半荫板视场时,可看到中间石英片部分与两侧视场的亮度一般是不相同的(常称为三分视场),如下图。

由于亮度低的情况下,人眼辨别亮度微小差别的能力较强,所以选用b图作为参考视场,称为零视场,并把此时检偏器偏振方向的指向位置定为刻度盘零点。
3、旋光仪
本实验所用旋光仪(wxg-4型)结构图,转动度盘手轮,可以使刻度盘及位于刻度中心的检偏镜一志转动,在目镜位置可清晰地看到上述四种情况,在刻度盘及游标盘上可读出检偏镜偏振化方向的角度数。为削除圆形刻度盘的偏心差,仪器设置双游标读数装置,取左右游标读数的平均值作为角度读数值即可消除由于刻度盘与游标盘不同心而造成的偏心误差,即
。 四、仪器设备
旋光仪,试管、被测溶液
五、实验耗材
被测溶液
六、实验过程
1、旋光仪调整练习
(1) 熟悉仪器结构及度盘手轮、目镜调焦手轮的作用,熟悉游标读数方法。
(2) 调节旋光仪的目镜调焦手轮,直到看到三分视场的分界线清晰。
(3) 转动度盘手轮使全偏器转动,观察并熟悉视场明暗变化的规律,认识零视场。
(4) 调出零视场,记录左、右游标的读数,取平均值作为零点
的测量值,测量三次求平均值及不确定度。
2、测定旋光性溶液的旋光率和浓度
(1) 直接应用
测量出蔗糖溶液的旋光率,已知浓度及试管的长度,方法是调节目镜调焦手轮,使三分视场界线清晰,缓慢雷动度盘手轮,调至零视场再度出现,记下读数,测量三次计算出平均值,即可得到待测物质的旋光率的平均值,计算出不确定度。
(2) 将装有未知浓度的待测旋光性溶液试管放入旋光仪中,调节目镜调焦手轮使视场清晰,缓慢转动度盘手轮,调至零视场再度出现,记下角度读数,测量三次计算出平均值及不确定度。
第二篇:用旋光法测定糖溶液的浓度
用旋光法测定糖溶液的浓度
一、简介
许多物质如石英晶体、氯酸钠、糖溶液、松节油等都有旋光性。利用旋光性测定糖溶液浓度的仪器称为旋光糖量计。除了在制糖工业中广泛应用外,在制药工业、药品检测及商品检测部门中也常用来测定一些药物和商品(如可卡因、尼古丁、樟脑等)的浓度。本实验主要是学习理解偏振光的产生和检测方法;观察旋光现象,了解旋光物质的旋光性质;测定糖溶液的旋光率和浓度的关系;熟悉旋光仪的原理和使用方法并学习自己组装旋光仪。
二、实验原理
线偏振光通过某些物质的溶液后,偏振光的振动面将旋转一定的角度,这种现象称为旋光现象,旋转的角度称为该物质的旋光度。通常用旋光仪来测量物质的旋光度。溶液的旋光度与溶液中所含旋光物质的旋光能力、溶液的性质、溶液浓度、样品管长度、温度及光的波长等有关。当其它条件均固定时,旋光度
与溶液浓度C呈线性关系,即
(1)
上式中,比例常数
与物质旋光能力、溶剂性质、样品管长度、温度及光的波长等有关,C为溶液的浓度。
物质的旋光能力用比旋光度即旋光率来度量,旋光率用下式表示:
(2)
上式中,
右上角的
表示实验时温度(单位:oC),
是指旋光仪采用的单色光源的波长(单位:nm),
为测得的旋光度( o ),
为样品管的长度(单位:dm),C为溶液浓度(单位:g/100mL)。
由(2)式可知:①偏振光的振动面是随着光在旋光物质中向前进行而逐渐旋转的,因而振动面转过角度
透过的长度
成正比;②振动面转过的角度
不仅与透过的长度
成正比,而且还与溶液浓度C成正比。
如果已知待测物质浓度C和液柱长度
,只要测出旋光度
就可以计算出旋光率。如果已知液柱长度
为固定值,可依次改变溶液的浓度C,就可测得相应旋光度
。并作旋光度
与浓度的关系直线,从直线斜率、长度
及溶液浓度C,可计算出该物质的旋光率;同样,也可以测量旋光性溶液的旋光度
,确定溶液的浓度C。
旋光性物质还有右旋和左旋之分。当面对光射来方向观察,如果振动面按顺时针方向旋转,则称右旋物质;如果振动面向逆时针方向旋转,称左旋物质。表1给出了一些药物在温度
=20oC,偏振光波长为钠光
589.3nm(相当于太阳光中的D线)时的旋光率。
表1某些药物的旋光率(单位:(o)·g-1·cm3·dm-1)
三、实验仪器及装置
实验仪器主要有偏振光旋光实验仪和半荫旋光仪(糖量计)两种类型。本实验中采用偏振光旋光实验仪。
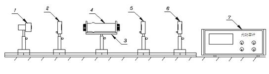
偏振光旋光实验仪的结构如图2所示。它由光具座、带刻度转盘的偏振片2个、样品试管、样品试管调节架、光功率计等组成。
图2 偏振光旋光实验仪
1?半导体激光器(S);2?起偏器及转盘P1; 3?样品管调节架(R);
4?样品试管; 5?检偏器及转盘P2; 6?光强探测器(硅光电池T);
7?光功率计(I);
偏振光旋光实验仪工作原理如图2所示,图中P1为起偏器,P2为检偏器,S为半导体激光器(波长
650),R为盛放待测溶液的玻璃试管,由半导体激光器发出的部分偏振光经起偏器P1后变为线偏振光,在放入待测溶液前先调整检偏器P2,使P2与P1的偏振化方向垂直,透过P2的光最暗,功率计示值重新变最小。当放入待测溶液后,由于旋光作用,透过检偏器P2的光由暗变亮,功率计示值变大。再旋转检偏器P2,使功率计示值重新变最小,所旋转的角度就是旋转角
,这样就可以利用公式(2)求出待测液体浓度。
四、实验内容
(一)必做内容:用偏振光旋光实验仪和(糖量计)测量糖溶液的浓度
1.观察光的偏振现象,研究葡萄糖水溶液的旋光特性。
用半导体激光器作光源在光具座上组装一台旋光仪。先将半导体激光器发出激光与起偏器、光功率计探头调节成高等同轴。调节起偏器转盘,使输出偏振光最强(半导体激光器发出的是部分偏振光)。将检偏器放在光具座的滑块上,使检偏器与起偏器等高同轴(检偏器与起偏器平行)。调节检器转盘使从检偏器输出光强为零,此时检偏器的透光轴与起偏器的透光轴相互垂直。将样品管(内有葡萄糖溶液)放于支架上,用白纸片观察偏振光入射至样品管的光点和从样品管出射光点形状是否相同,以检验玻璃是否与激光束等高同轴。如果不同轴可调节“样品管支架”下的调节螺丝使达到同轴为止。此时可观察到透过检偏器的光强不为零。
便是该浓度溶液的旋光度。
2.用自己组装的旋光仪测量葡萄糖水溶液的浓度
(1)配置不同的容积克浓度(单位:g/100mL)的葡萄糖水溶液。简单的方法是将各溶液浓度配成为
、
、
、
,加上纯水(浓度为零),共5种试样,浓度
取24%至30%为宜。分别将不用浓度溶液注入相同长度的样品试管中,测出不同浓度
下旋光度
。并同时记录测量环境温度
和记录激光波长
。
(2)以溶液浓度为横坐标,旋光度为纵坐标,绘出葡萄糖溶液的旋光直
线,由此直线斜率代入公式(2),求得该物质的旋光率
。
(3)用旋光仪测出未知浓度的葡萄糖溶液样品的旋光度,再根据旋光直线
确定其浓度。
3.用半荫旋光仪测葡萄糖水溶液的浓度,求得葡萄糖的旋光率
。其中
D=589.3nm。并与
进行比较,证明旋光率与波长有关(约与波长的
平方成反比)。